财务缴费
1、点击交易记录,进入主页,可通过起始日期-结束日期、应收账单、姓名、流水号、账单号、手机号、身份证、操作人、年级/专业、交易类别、交易场景、支付方式、是否开具发票进行查询。
2、勾选需要导出的学生数据,点击导出,会有一个导出提示,点击确定,即可去用户中心下载excel表,点击开票,可选取开具发票或打印发票


3、点击查看,可以看到此订单的交易明细,收费信息,收据开具、收据开具打印、发票开具,如此订单已开,此组件自动隐藏。

1、点击银联交易,可通过起始-结束日期、流水号、开户行、开户名、银行卡、收支方向进行查询

2、点击查看,即可看到详细信息,交易流水号、交易时间、交易账户、交易开户行、交易SWIFT码、对方账户名、对方账号、对方开户行、对方SWIFT码。

3、点击充值交易,可通过起始-结束日期、流水号、订单号、手机号、寝室号
校园卡进行查询,

4、点击查看,可看到详细交易详细信息,寝室号、交易场景、支付方式、交易时间
交易流水、业务分类、创建时间、订单号。

5、点击订单交易,可通过起始-结束日期、交易类别、交易人、流水号、支付号、单号进行查询,通过筛选之后,点击导出,可进行数据导出操作。

6、点击查看,可查询到支付信息、订单信息。

1、点击预缴减免,进入预缴记录页面,可通过起始日期-结束日期进、冲账状态、姓名、学号、手机号、身份证号、交易编号进行查询,点击添加,选择学生信息、负责老师信息、预缴金额与支付方式、支付流水、凭证号、说明和凭证的的补充说明,有助于学生信息的更好保存。


2、导入&导出操作,点击导入,下载模板,填写完成之后,上传即可,导出需通过检索条件,筛选出数据范围,导出之后在个人中心进行下载。
1、可通过账单状态、起始日期-结束日期、姓名、应收账单、年级、学生类别、学生状态检索数据,点击查看可看到详细得账单明细,收费信息、交易记录、开票记录。

2、点击查看详细账单明细,可进行作废,退款,收款操作。

1、点击账单异动,通过起始日期-结束日期、姓名、手机号、身份证、操作人,点击查看,可查看详细得账单异动明细。

1、点击账单收费,可通过,收费状态、起始日期-结束日期、标准号、名称、创建人进行检索筛选,
可以点击查看详细信息,数据汇总,以及账单作废。

2、点击添加收费下拉列表有学费账单与通用账单,点击学费账单,填写名称,收费时间,收费说明,选择专业,点击下一步。

到了下一步,收费设置,设置收费内容,选缴项设置,缴费金额设置,点击提交,提示创建账单成功。

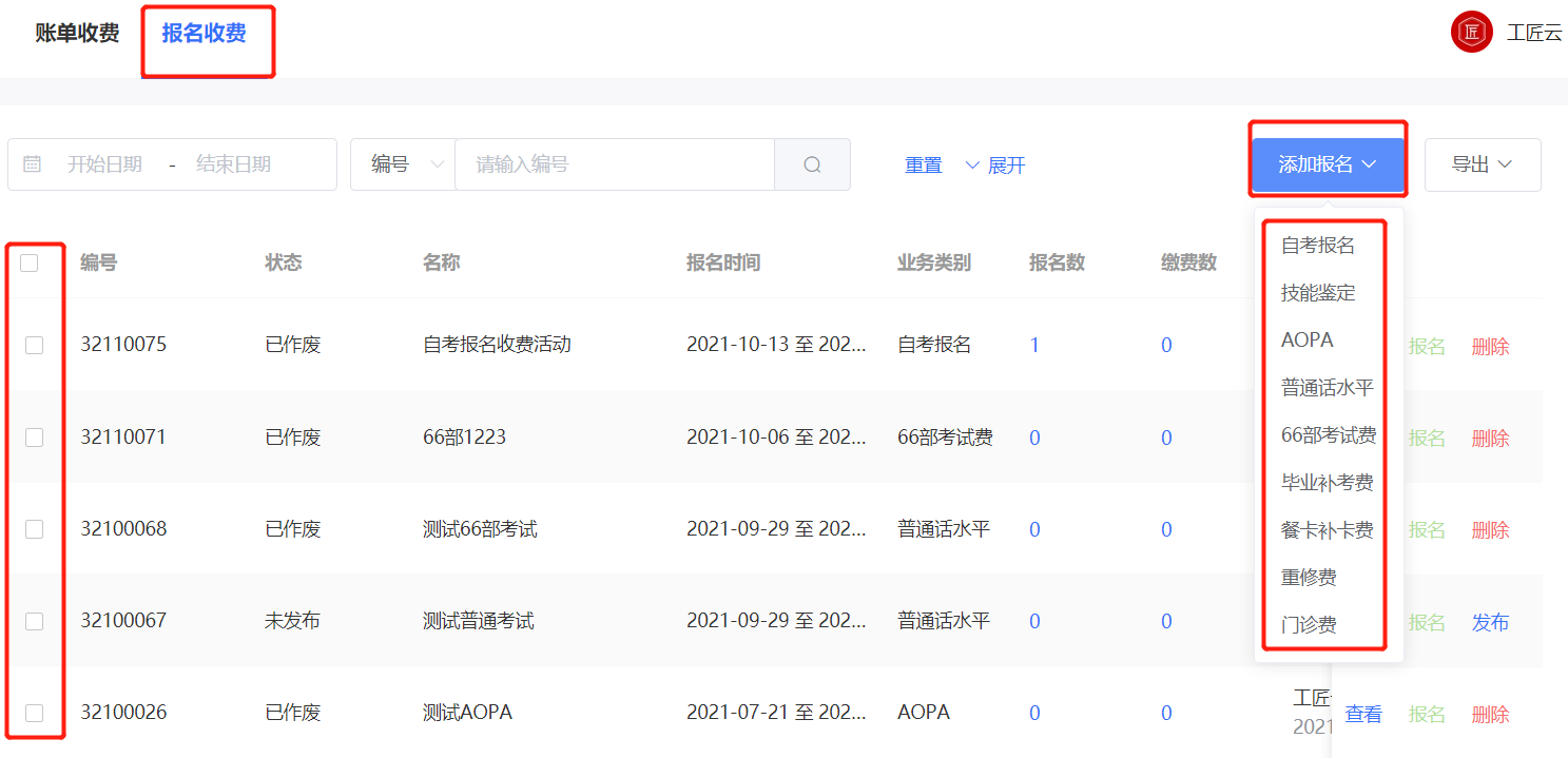
1、点击报名收费,可通过起始日期-结束日期、编号、名称、创建人、收费状态、业务类别进行检索。点击添加报名下拉列表,里面会有需要添加的考试信息组件,点击进去与学费账单收费一致。

2、导入导出操作,勾选需要导出的数据,点击导出,选择需要导出的数据,提示完成之后去个人中心,下载即可。

1、点击票据管理,可根据起始日期-结束日期、票据状态、姓名、流水号、手机号、身份证号、票据号、应收账单进行检索,可勾选需要的数据进行批量打印、导出,也可选择单条数据进行查看与下载。


1、点击记账凭证,可通过记账业务、起始日期-结束日期、凭证号、摘要、记账人进行检索,点击交易明细/对公交易,勾选需要制单&导出的数据,凭证制单一条数据只支持一次。

1、可通过下拉列表与搜索科目名称、编号进行查询,在右方可进行手动添加项目,点击添加项目,根据内容,完善好资料保存即可,也可对收费项进行修改、禁用、删除、添加子级项操作。会计科目可同步科目

1、银行档案可通过户名、账户名进行查询,客商档案可通过类别、客商、编号进行查询,可手动添加银行/客商,也可手动进行查看、禁用、删除、修改操作。
