招生管理应用提供招生方案制定、意向学生报名、线上审核等功能,学校可以通过此系统对报考学生进行审核、查询各种各种统计报表等,让招生工作更轻松、高校,学生信息更准确。
入学管理应用包括新生信息管理、入学迎新、分班分学号、分宿舍、报到数据统计等一系列有关报到前、报到中、报到后的业务流程。
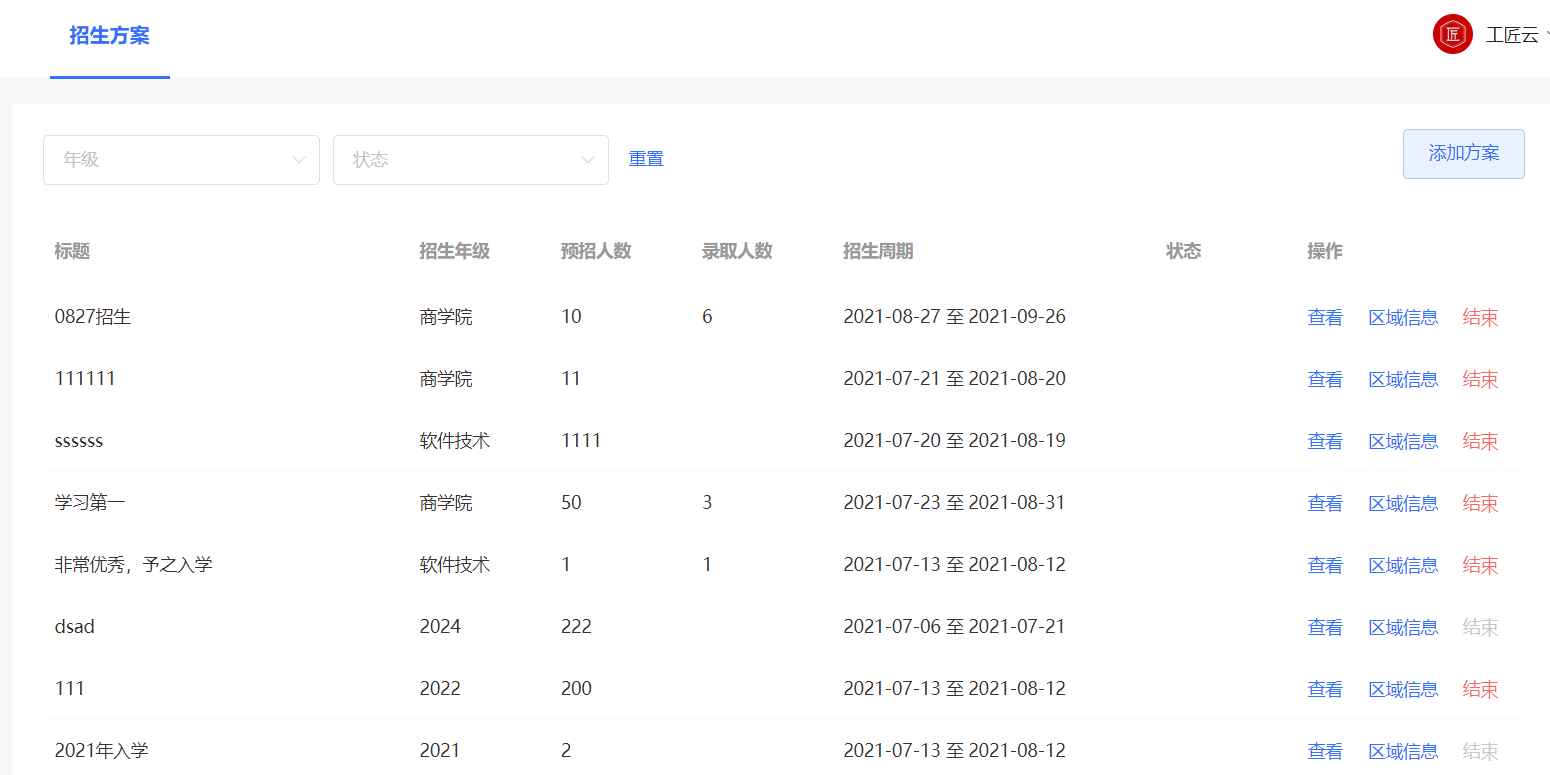
在招生方案页面可以制定或查询招生方案,包括年级(招生学年)、标题(招生方案)、院系、专业、招生时间、预招人数等。同时,可设定各区域招生指标,含划分招生地区、招生人数、招生老师、地区负责人、督查负责人等。

在招生方案页面右上角,点击【添加方案】按钮,进入到招生方案新增详情页面,即可进行编辑招生方案。


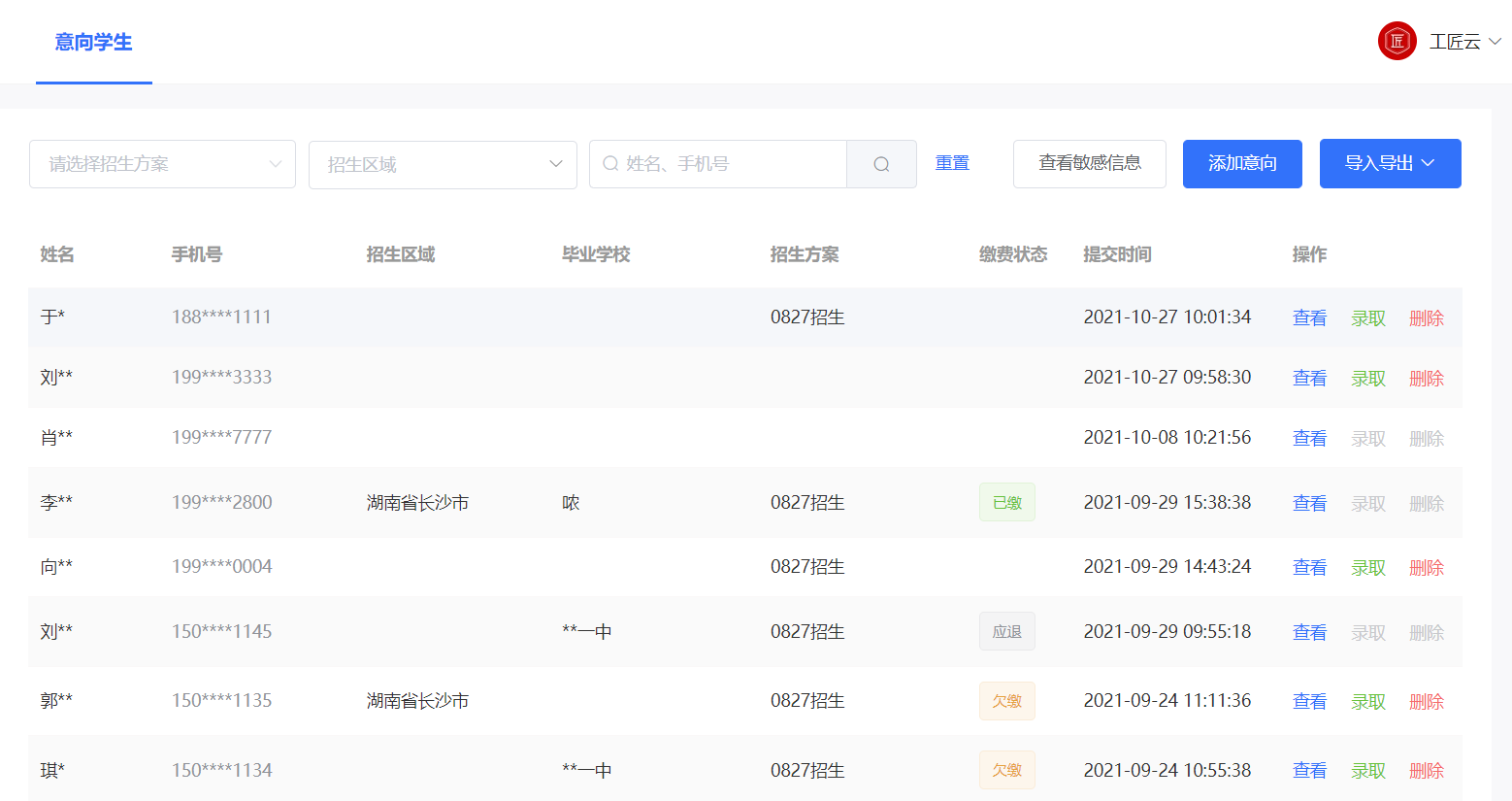
进入到意向学生页面,可以在搜索框搜索招生方案、招生区域、姓名、手机号等进行条件筛选,可查看、编辑和删除意向学生信息。同时,系统设定了查看敏感信息功能,可为不同老师开放权限。

点击【添加意向】按钮,可以就意向学生进行信息登记,包括招生方案、意向就读专业、姓名、手机号、身份证号码、家长信息、毕业院校、招生老师等信息。同时,系统支持按照《意向学生信息导入模板》批量导入意向学生信息。

在意向学生信息列表中,对该学生进行录取操作,即从意向学生变为录取学生,为后续入学做准备。
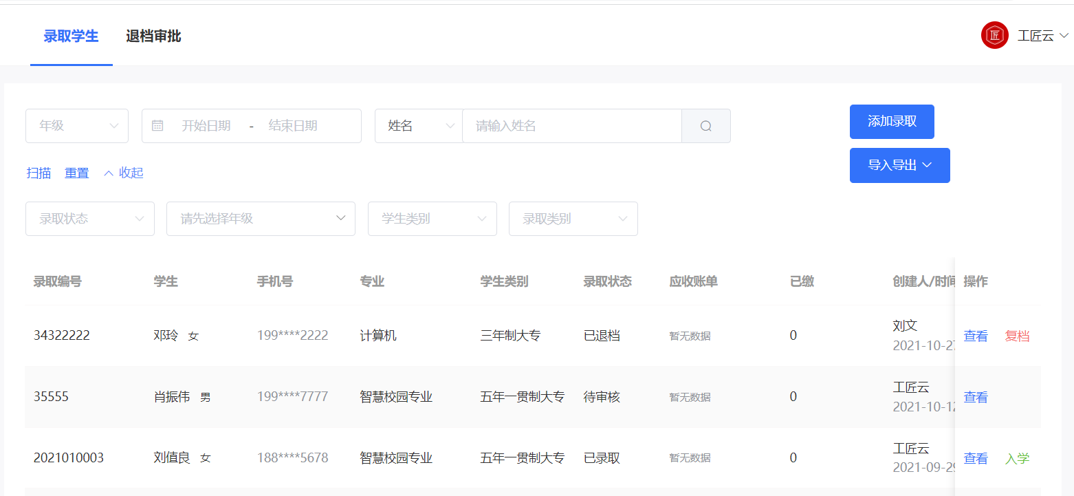
在录取学生页面,可根据专业、姓名、手机号、身份证号码、创建人、录取编号、录取状态、学生类别等进行搜索查询,同时系统支持接入身份证阅读识别设备直接扫描证件进行人员搜索。同时,系统设定了查看敏感信息功能,可为不同角色或用户开放权限。

在退档审批页面,可根据姓名、编号、身份证号码、创建人、审批状态、退档原因、退档时间等进行搜索查询,同时系统支持接入身份证阅读识别设备直接扫描证件进行人员搜索。同时,系统设定了查看敏感信息功能,可为不同角色或用户开放权限。

系统支持单个手动维护或批量导入录取学生,信息包括招生方案、录取编号、姓名、手机号、就读专业、学历、招生方式、身份证号码、籍贯、家长及联系电话、招生老师、贫困类型等。

入学新生管理应用是指已经入学的学生,入学新生页面可进行入学迎新、新增学生、条件搜索、批量导入导出等操作,学生详情包含学生基本信息(姓名、手机号、年级、专业、身份证号码等)、辅助信息(户口类别、贫困类型、家长信息、生源地、招生老师等)、应收账单(账单详情、应缴、实缴、欠缴、状态等),帮助学校及时了解入学新生的信息和缴费情况。

在入学新生页面右上角,点击【添加学生】按钮,即可录入学生信息。

当平台初次部署上线时,可按照《在校学生信息导入模板》批量导入学生,信息包括姓名、年级、专业、类型、班级、身份证号码、家长信息等。
在入学新生页面,在导入导出按钮下点击导入学生信息按钮,上传Excel文件。

在入学新生页面,搜索选择对应的学生,点击右上角导入导出下拉框,选择导出学生信息,即可导出学生信息表。

在入学新生页面,点击右上角导入导出下拉框,选择导出缴费信息,即可导出学生缴费信息表。
